technology News
Stay updated with the latest technology news, articles, and updates.

Gemini replacing Google Assistant on Chromebooks - 9to5Google
Following the Android announcement last week, Gemini is set to replace Google Assistant on Chromebooks and ChromeOS...

Nintendo Switch 2 rumor just tipped possible release date — and it's much sooner than we thought - Tom's Guide
A Spring release?

Gemini gets new coding and writing tools, plus AI-generated “podcasts” - Ars Technica
Gemini is absorbing features from one of Google’s coolest AI products.
AMD Says It Has Sold Over 200,000 Radeon RX 9070 Series GPUs In The First Batch, Promises Better Products In The Future - Wccftech

Nvidia’s RTX Pro 6000 has 96GB of VRAM and 600W of power - The Verge
Nvidia is launching new RTX Pro Blackwell chips for workstations, servers, and laptops. They’re aimed at designers, developers, and other professionals.

Windows 11 will soon be able to explain why your PC needs more RAM and a better GPU - Neowin
Microsoft is testing a new section in Windows 11's Settings app to help users better understand how PC specs affect performance.

Android 16 likely to introduce revamped battery and WiFi icons - Android Central
Upcoming Android 16 likely to bring visual changes with its revamped battery and Wi-Fi icons

Microsoft’s Xbox Adaptive Joystick is now available - The Verge
Originally announced last August, Microsoft’s Xbox Adaptive Joystick is now available through the company’s online store for $29.99.

Square Enix Announces A Big RPG Sale In The Best Way Possible - Kotaku
The star of Final Fantasy XVI tells fans what to play next

Croc: Legend of the Gobbos remaster gets a PC and console release date - Eurogamer
Fans of developer Argonaut's warmly remembered 3D platformer Croc: Legend of the Gobbos are in for a blast of nostalgia…
First Look at 5 New Cards From Tarkir: Dragonstorm, Magic: The Gathering's Next Set - IGN
An exclusive look at a common cycle that's made with Limited in mind.

What I've Learned From Four Years of Tracking My Health With the Oura Ring - Lifehacker
Including the metrics I trust the most and the least, how it holds up to wear and tear, and which generation has been my favorite.

Apple's Passwords app was vulnerable to phishing attacks for nearly three months after launch - 9to5Mac
In iOS 18, Apple spun off its Keychain password management tool—previously only tucked away in Settings—into a standalone app called...

Magic: The Gathering's New Expansion Wants You to Behold Some Dragons - Gizmodo
Truly, this is the age of Magic: The Gathering dragons.
The Girls Are Girling In Overwatch 2’s Second K-Pop Crossover - Kotaku

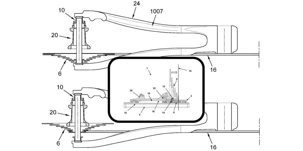
Classified’s Latest Patent Drops the Derailleur for a Straight Chain in Every Gear - Outside Magazine
Is Classified Cycling developing a low-friction, super-efficient, derailleur-less drivetrain?

Assassin's Creed Shadows' new Anvil engine features impress on PS5 and Series X - Eurogamer
Tom Morgan takes on Assassins Creed Shadows on PS5, Xbox Series X and Series S. Does the game live up to its promise as the first next-gen AC title?

Croc: Legend of the Gobbos remaster launches April 2 - Gematsu
The remastered version of 3D platformer Croc: Legend of the Gobbos will launch digitally for PlayStation 5, Xbox Series, PlayStation 4, Xbox One, Switch, and PC via GOG on April 2, Argonaut Games a…

‘Can I Back Out After Accepting a Job Offer?’ - The Cut
Career-advice columnist Alison Green responds to a reader who is worried about burning bridges if they back out after accepting a job offer in favor of another, more appealing one.

A slew of new HP OmniBooks includes chip bumps and a featherweight Aero - The Verge
HP is announcing nearly 40 new OmniBook and EliteBook productivity laptops with Intel and AMD chips. The selection includes a very svelte new OmniBook 7 Aero.